PDD迎来27岁生日 忙公司事务或不再直播?
首先我们祝福PDD嫖老师27岁生日快乐!

说起来,PDD这一鸽就是就是足足四个多月了,到现在也不清楚他什么时候才会复播。

一开始的时候,PDD是要去处理LPL席位的问题,要知道YM已经七进LPL而不入了,但是YM却作为电竞黄埔军校为LPL输送了大量的人才,所以PDD当时鸽了一整个月粉丝们也都理解。
但是已经明确了竞标LPL席位失败之后,PDD依旧没有出现。他又帮大司马谈直播合同,从熊猫到虎牙又到斗鱼,这又是鸽了很久的直播。
之后PDD基本就没有什么大动静了,直播一鸽就鸽到了现在。

就算昨天是PDD的生日,也没有见到PDD有什么动态。
各位粉丝们十分想念嫖老师,纷纷在他的微博下面留言:

不过更多的粉丝还是在催他赶紧开直播。
这让看来,PDD还真是从26岁鸽到了27岁啊……

PDD一手带出来的天才少年国服路人王小马发博庆祝PDD的生日。
这个皮孩还暗示PDD已经27岁了,鸽直播什么的,肯定还会继续的?

与嫖老师关系很好的大司马也专门发博祝福他生日快乐~
还是给耿直的小伙伴们解释一下吧,这张照片是冬天的时候拍的,不是过生日这天拍的啦。

说来说去,咱们还是更关心什么时候才能看到嫖老师嘛。
最近记得就爆料了一波关于嫖老师当季后赛解说嘉宾的事情。
记得在直播的时候被问到关于解说的问题,他脱口而出春季赛决赛的解说嘉宾是PDD!

那既然这样的话,那PDD是否会把这次重回观众聚焦当中的机会,当做复播的契机呢?
然而又有主播爆料说PDD正在经营经纪公司,运营的十分不错,并没有继续直播的打算。
以下是熊猫主播囚徒的原话:
“pdd基本上不会再直播了。原因是如今他的大部分时间都花在经营公司上,而且比直播赚钱。而直播对于他来说只能算是回馈观众。”

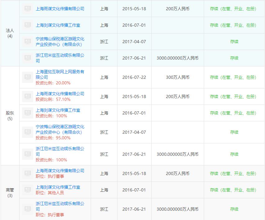
现在终于明白为什么PDD一直有钱搞超级烧钱的俱乐部了,他名下有五个公司,其中注册资金最高的达到了三千万!

其中浙江尼米兹互动娱乐有限公司就是PDD名下的主播经济公司啦,大司马就是签约的这所公司,还有YM的打野牛奶也是这家公司的主播。

然后就是辣个上海刘谋文化传播工作室了,这个公司是专门为了皮皮希望小学而建立的。
据新闻报道来看,PDD有意在内蒙古建立希望小学了。

看了这么多有关PDD的消息,也算是终于了解了PDD现在真的很忙,很多事情都需要他处理的。
所以开直播什么的,可能估计要再等一等了。
希望嫖老师能早点开直播吧~粉丝们都十分想念他呢!
免责声明:特玩网发此文仅为传递信息,不代表特玩网认同其观点或证实其描述。
同时文中图片应用自网络,如有侵权请联系删除。
- Uzi官宣加入LZG战队 Theshy等知名LOL选手也在这个战队 02-21
- 至今未获得一场春季赛胜利 edg压力山大BRO接近崩溃 02-19
- LPL不能没有TheShy MLXG说JKL算不上巨星 02-18
- RNG官博惨遭粉丝爆破 Letme道心破碎要辞职 02-08
- LPL春季赛最长时长比赛 微博战队打满53分钟集体跑厕所 02-07
- 周杰伦战队被诉拖欠工资 LPL选手上班迟到43次太离谱 02-06
- Theshy直播礼物99W 被禁言人数5774 02-05
- LPL最菜AD对线5分钟了还是1级 Scout卡BUG被官方警告 02-05
- EDG春季赛四连败 被BLG战队46分钟横扫 02-05